Приложение 12
к постановлению акимата
от 21 июня 2016 года
№ 284
Регламент государственной услуги "Предоставление бесплатного и льготного питания отдельным категориям обучающихся и воспитанников в общеобразовательных школах"
Сноска. Приложение 12 – в редакции постановления акимата Костанайской области от 26.07.2019 № 302 (вводится в действие по истечении десяти календарных дней после дня его первого официального опубликования).
- Общие положения
- Государственная услуга "Предоставление бесплатного и льготного питания отдельным категориям обучающихся и воспитанников в общеобразовательных школах" (далее – государственная услуга) оказывается местными исполнительными органами районов и городов областного значения (отделы образования районов и городов областного значения) (далее – услугодатель).
Прием заявления и выдача результата оказания государственной услуги осуществляются через:
1) канцелярию услугодателя;
2) веб-портал "электронного правительства" www.egov.kz (далее – Портал).
- Форма оказания государственной услуги – электронная (частично автоматизированная) и (или) бумажная.
- Результат оказания государственной услуги – справка о предоставлении бесплатного и льготного питания в общеобразовательной школе по форме согласно приложению 1 к стандарту государственной услуги "Предоставление бесплатного и льготного питания отдельным категориям обучающихся и воспитанников в общеобразовательных школах", утвержденному приказом Министра образования и науки Республики Казахстан от 13 апреля 2015 года № 198 "Об утверждении стандартов государственных услуг, оказываемых в сфере семьи и детей" (зарегистрирован в Реестре государственной регистрации нормативных правовых актов под № 11184) (далее – Стандарт), либо мотивированный ответ об отказе в оказании государственной услуги в случаях и по основаниям, предусмотренным в пункте 10 Стандарта.
Форма предоставления результата оказания государственной услуги – электронная и (или) бумажная.
В случае обращения услугополучателя за результатом оказания государственной услуги на бумажном носителе результат оказания государственной услуги оформляется в электронной форме, распечатывается, заверяется печатью и подписью уполномоченного лица услугодателя.
На Портале результат оказания государственной услуги направляется и хранится в "личном кабинете" услугополучателя в форме электронного документа, подписанного электронной цифровой подписью (далее – ЭЦП) уполномоченного лица услугодателя.
- Описание порядка действий структурных подразделений (работников) услугодателя в процессе оказания государственной услуги
- Основанием для начала процедуры (действия) по оказанию государственной услуги является принятие услугодателем заявления по форме согласно приложению 2 к Стандарту и соответствующих документов, указанных в пункте 9 Стандарта (далее – пакет документов), либо заявления в форме электронного документа, подписанного ЭЦП услугополучателя.
- Содержание каждой процедуры (действия), входящей в состав процесса оказания государственной услуги, длительность его выполнения:
1) сотрудник канцелярии услугодателя осуществляет прием пакета документов, его регистрацию, передает руководителю услугодателя, 15 (пятнадцать) минут.
В случае предоставления услугополучателем неполного пакета документов и (или) документов с истекшим сроком действия услугодатель отказывает в приеме заявления, 5 (пять) минут.
Результат процедуры (действия) – прием и регистрация пакета документов;
2) руководитель услугодателя определяет ответственного исполнителя услугодателя, налагает соответствующую визу, передает ответственному исполнителю услугодателя, 3 (три) часа.
Результат процедуры (действия) – виза руководителя услугодателя;
3) ответственный исполнитель услугодателя изучает пакет документов, подготавливает проект результата оказания государственной услуги, передает руководителю услугодателя, 4 (четыре) рабочих дня.
Результат процедуры (действия) – проект результата оказания государственной услуги;
4) руководитель услугодателя подписывает проект результата оказания государственной услуги, передает сотруднику канцелярии услугодателя, 5 (пять) минут.
Результат процедуры (действия) – подписанный результат оказания государственной услуги;
5) сотрудник канцелярии услугодателя выдает результат оказания государственной услуги услугополучателю, 10 (десять) минут.
Результат процедуры (действия) – выданный результат оказания государственной услуги услугополучателю.
- Описание порядка взаимодействия структурных подразделений (работников) в процессе оказания государственной услуги
- Перечень структурных подразделений, (работников) услугодателя, которые участвуют в процессе оказания государственной услуги:
1) сотрудник канцелярии услугодателя;
2) руководитель услугодателя;
3) ответственный исполнитель услугодателя.
- Описание последовательности процедур (действий) между структурными подразделениями (работниками) с указанием длительности каждой процедуры (действия):
1) сотрудник канцелярии услугодателя осуществляет прием пакета документов, его регистрацию, передает руководителю услугодателя, 15 (пятнадцать) минут.
В случае предоставления услугополучателем неполного пакета документов и (или) документов с истекшим сроком действия, услугодатель отказывает в приеме заявления, 5 (пять) минут;
2) руководитель услугодателя определяет ответственного исполнителя услугодателя, налагает соответствующую визу, передает ответственному исполнителю услугодателя, 3 (три) часа;
3) ответственный исполнитель услугодателя изучает пакет документов, подготавливает проект результата оказания государственной услуги, передает руководителю услугодателя, 4 (четыре) рабочих дня;
4) руководитель услугодателя подписывает проект результата оказания государственной услуги, передает сотруднику канцелярии услугодателя, 5 (пять) минут;
5) сотрудник канцелярии услугодателя выдает результат оказания государственной услуги услугополучателю, 10 (десять) минут.
- Описание порядка взаимодействия с "Государственной корпорацией "Правительство для граждан" и (или) иными услугодателями, а также порядка использования информационных систем в процессе оказания государственной услуги
- Государственная услуга через Филиал некоммерческого акционерного общества "Государственная корпорация "Правительство для граждан" по Костанайской области не оказывается.
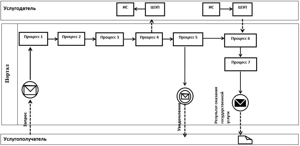
- Описание порядка обращения и последовательности процедур (действий) услугодателя и услугополучателя при оказании государственной услуги через Портал:
1) услугополучатель осуществляет регистрацию, авторизацию на Портале посредством индивидуального идентификационного номера, ЭЦП;
2) услугополучатель производит выбор электронной государственной услуги, заполнение полей электронного запроса и прикрепление пакета документов;
3) услугополучатель производит удостоверение электронного запроса для оказания электронной государственной услуги посредством ЭЦП;
4) услугодатель осуществляет обработку (проверку, регистрацию) электронного запроса услугополучателя;
5) услугополучатель получает уведомления о статусе электронного запроса и сроке оказания государственной услуги в "личный кабинет" услугополучателя на Портале;
6) услугодатель направляет в "личный кабинет" услугополучателя результат оказания государственной услуги в форме электронного документа, подписанного ЭЦП, согласно пункта 4 Стандарта;
7) услугополучатель получает результат оказания государственной услуги через Портал в "личном кабинете" услугополучателя.
Диаграмма функционального взаимодействия информационных систем указана в приложении 1 к настоящему Регламенту.
- Подробное описание последовательности процедур (действий), взаимодействий структурных подразделений (работников) услугодателя в процессе оказания государственной услуги, а также описание порядка взаимодействия с иными услугодателями и порядка использования информационных систем в процессе оказания государственной услуги отражается в справочнике бизнес-процессов оказания государственной услуги согласно приложению 2 к настоящему Регламенту.
|
|
Приложение 1 |
Диаграмма функционального взаимодействия при оказании государственной услуги через Портал
Условные обозначения и сокращения:
Приложение 2 к Регламенту государственной услуги "Предоставление бесплатного и льготного питания отдельным категориям обучающихся и воспитанников в общеобразовательных школах" Справочник бизнес-процессов оказания государственной услуги "Предоставление бесплатного и льготного питания отдельным категориям обучающихся и воспитанников в общеобразовательных школах"
Условные обозначения:





